Взялся за два проекта одновременно!?
Молодец, однако !!!
Миноносец типа "Циклон" (Невский завод) М 1:45.
Сообщений 101 страница 134 из 134
Поделиться10128.11.23 23:40:13
Поделиться10229.11.23 10:42:23
Взялся за два проекта одновременно!?
А куды ж деваться - будем напрягаться.
Хорошо отвлекает от происходящего... 
Поделиться10329.11.23 17:58:40
Люки МО.
Валера, а куда они открывались, если петли с обеих сторон 
Поделиться10429.11.23 19:04:22
Валера, а куда они открывались, если петли с обеих сторон
Глазастый , однако...
Игорь , в каждой петле ось быстро вынималась . Крышку могли открывать ,поочередно , на 2 противоположные стороны по желанию. 
Поделиться10529.11.23 20:21:15
Игорь, посмотри мой пост 83 , там на фото видны петли без оси. Значит люк настроен открываться к борту.
Поделиться10629.11.23 20:24:20
Вот ведь...затейники какие 
Поделиться10729.11.23 20:28:08
Игорь, посмотри мой пост 83 , там на фото видны петли без оси. Значит люк настроен открываться к борту.
Ага, увидел. Я бы подумал, что эти петли для замков 
Поделиться10830.11.23 00:13:56
Когда ты всё успеваешь?
У тебя в сутках сколько часов?
Поделиться10930.11.23 08:33:49
У тебя в сутках сколько часов?
Да по разному бывает - раз на раз не приходится....

Поделиться11213.02.24 22:56:26
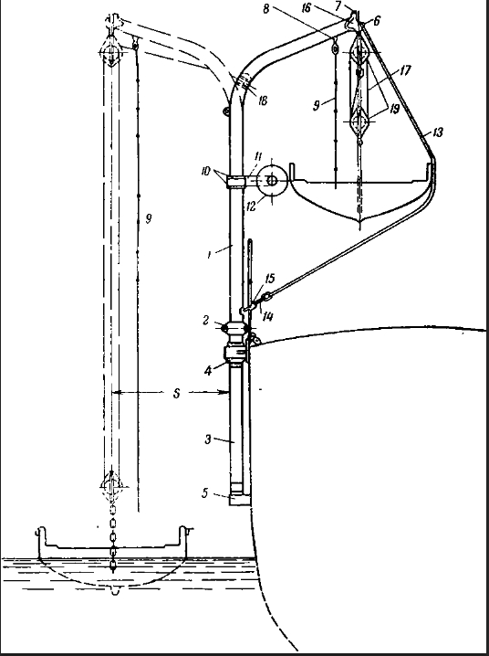
Нужен хелп!
Вопрос - как крепился цепной штуртрос к румпелю? По аналогии с более поздними ЭМ , в проушину румпеля должна быть вставлена серьга и уже к ней цепляли штуртрос , но уверенности (как и чертежа) нет. Почти полный аналог этого узла на Пернове , может чего и у кого найдется?
Валера, именно так, через рым на румпеле. Конкретного чертежа нет, но вот по фрагменту "японца" можно разглядеть.
Поделиться11313.02.24 23:51:02
Валера, именно так, через рым на румпеле.
Нет , Игорь , не совсем так.
Эта схема (какую ты показал) применена на всех ЭМ после Сокола . В этот "рым" (паз) вставлена серьга , которая двигается в этом пазе по мере поворота румпеля. Это все оч подробно показано в "Миделях" и c этим вопросов нет. На Циклонах не паз , а круглое отверстие поэтому нужен другой аналог- Пернов и более ранние миноносцы.
Поделиться11626.02.24 18:02:32
Отдельного чертежа у меня на неё нет , а на общих видах , то что показано не её ноке вызывает вопросы - что за "колечко" , "крючки" и пр. "нечто" ?
Валера, может это не "колечко" , "крючки", а блок с рымом в "полукожухе" ? - видел нечто похожее в кабинете морской практики бывшей Мор.школы .
Поделиться11726.02.24 18:16:32
Валера, может это не "колечко" , "крючки", а блок с рымом в "полукожухе" ? - видел нечто похожее в кабинете морской практики бывшей Мор.школы .
Хорошо , Игорь - версия уже есть
... "нечто с крючками" можно принять за щеку блока с ограничителями троса, надо будет поискать подтверждение... но вот "колечко " пока выпадает из логики подвеса блока на шлюпбалке.
Поделиться11927.02.24 06:34:05
Всем привет.
Я, вижу это так - это кольцо с варящимся на нем полукожухом двушкивного блока с ограничительными "упорами" в виде "рогов".
Вот как тут. 
Только тут вешается на крючок шлюпбалки, а а тебя кольцо с блоком вешается просто на конус шлюпбалки.
А, вот куда уходит лопарь из чертежа не видно. Потерялся, не должен.
Должен уходить к стойке шлюпбалки.
Отредактировано Старпом (27.02.24 06:52:51)
Поделиться12027.02.24 09:14:34
Вот как тут
Привет , Вячеслав .
Возможно что-то и планировали такое мудреное , судя по рисунку с общего вида .
Но по факту , судя по фото, поставили балку аналогичную той что стоит на баке , кат-балку , и теперь на юте она называется шлюпбалка. 
Поделиться12128.02.24 06:10:36
аналогичную той что стоит на баке , кат-балку , и теперь на юте она называется шлюпбалка.
Я, же про это и говорю, упростили до не могу 
Поделиться12202.03.24 11:03:30
Вопрос - как крепился цепной штуртрос к румпелю?
Возможно так же, как и к румпелю носового руля - две серьги на одной оси.
Вот ещё общий вид кормового румпеля.
Забавно, что штуртрос крепится не за окончание румпеля, а где-то по середине.
А на конце румпеля есть две проушины, видимо для ручного (аварийного) перекладывания.
Поделиться12402.03.24 12:19:49
Возможно так же, как и к румпелю носового руля - две серьги на одной оси.
Да , именно так - серьга!
Дык, у тебя же есть чертёж кат-балки (скан из "Миделя" отправил тебе на почту).
Вот его то у меня как раз и НЕ было !
СПАСИБО за качественный скан!!!

Поделиться12502.03.24 12:25:56
Вот ещё общий вид кормового румпеля.
Забавно, что штуртрос крепится не за окончание румпеля, а где-то по середине.
А на конце румпеля есть две проушины, видимо для ручного (аварийного) перекладывания.
Там было 2 румпеля , короткий (нижний) для штуртроса , верхний (длинный ) для аварийной ручной перекладки.
На чертеже "француза" показано все более подробно.
Поделиться12702.03.24 14:20:07
Вот его то у меня как раз и НЕ было !
СПАСИБО за качественный скан!!!
Не за что! Обращайся.
Может, у тебя ещё чего-то нет из этого выпуска? 
Там было 2 румпеля
Фигасе... Необычное решение. 
В первом приближении этот узел выглядит так
Обрати внимание, что на поздних фото видно, что на румпель идёт только один штуртрос (который носовой).
Кормовой, идущий к штурвалу, отсутствует.
Поделиться12802.03.24 18:20:56
Может, у тебя ещё чего-то нет из этого выпуска?
Если что - я тебе на почту черкну...
Обрати внимание, что на поздних фото видно, что на румпель идёт только один штуртрос (который носовой).
Кормовой, идущий к штурвалу, отсутствует.
Это когда их в тральцы переделали ... 
Поделиться12902.03.24 23:48:11
А вот кто знает, какого цвета был линолеум на палубе у "Циклонов"?
Поделиться13003.03.24 01:34:35
Макс, знаю что у немцев было 3 стандартных цвета: серый, светло-коричневый и коричневый. Наверное у французов тоже были такие цвета. Это связано с технологиями того времени.
Поделиться13103.03.24 10:14:01
А вот кто знает, какого цвета был линолеум на палубе у "Циклонов"?
А на фотографиях затонувших Циклонов этого случайно не видно? Или к тому времени линолеума на них уже не было?
Поделиться13303.03.24 13:56:59
Увы, я не видел модели "Циклона" ни у финнов ни в ЦВММ. А сейчас они недоступны..
Шихау-2 из ЦВММ:
и Сокол у финнов:
Еще есть "Доброволец" в ЦВММ, там светлокоричневое ЕМНИП.
А на фотографиях затонувших Циклонов этого случайно не видно? Или к тому времени линолеума на них уже не было?
Вообще я очень этим интересовался, но пока выйти на этих людей не удалось. Я нашел людей, которые искали остатки "Барсов", но СВО похоронило эти планы тк они все в терводах лежат. Хоть сам ныряй и колупай.
Поделиться13423.03.24 12:30:20
Циклон у финнов в музее, снимал я на телефон более 10 лет назад, так что сорян. К тому моменту у зеркалки кончилась батарейка. Что есть:
























