Очень хорошее продвижение в работе над моделью. Мои искренние поздравления. Браво, так держать.
АВРОРА 1903 г. 1:48 (В память об Игоре Куцолабе)
Сообщений 51 страница 100 из 178
Поделиться5208.09.22 08:14:35
Ахтерштевень, кронштейны, выходы дейдвудных труб...
Штевни впечатляют - замечательно !
Верхнюю часть казематов кормовых 75-мм пушек пришлось переделать, нашли фото, где чётко видны открытые части бимсов...
А фото какого периода?
Немного напрягает такое решение конструкторов... а было ли так изначально? 
Поделиться5408.09.22 17:28:47
Да , на спусковом фото Паллады просматриваются белые бимсы.
...
Вот...,началось всё с этого фото, а потом нашли аналогичное и на Авроре. По Авроре нас консультирует Сергей Иванович Овсянников, в 1984 году, когда Аврору поставили на "ремонт", он был главным инженером завода им. Жданова.(Северная Верфь), он то и нашёл в своём архиве фотографию. И фотография крепления нижней ноги кронштейна гребного вала тоже его. Я потом выложу, надо только у него спросить разрешения. Вообще замечательный человек, надавал нам кучу ещё пленочных фотографий 1984-85х годов, он тогда подробно общёлкал весь корпус сразу после постановки в док. Просто замечательный человек и кладезь знаний и документов по Авроре. А ещё и подарил по кусочку медной обшивки с обшивочным гвоздиком, по заклёпке и части палубной доски Авроры 
Поделиться5508.09.22 18:29:38
Немного напрягает такое решение конструкторов
Почему напрягает?
Всё вполне логично: зачем подшивать снизу бимсы, находящиеся "на улице"?
Ведь бимсы мостиков снизу тоже не подшивают. Так и здесь.
Конечно, это усложняет монтаж листов бортовой обшивки (приходится делать вырезы под каждый бимс), зато нет конденсата в зашитом пространстве, и бимсы всегда доступны для покраски.
Поделиться5608.09.22 18:32:02
ещё и подарил по кусочку медной обшивки с обшивочным гвоздиком, по заклёпке и части палубной доски Авроры
А мне в своё время подарили кусок палубной брони, броневой болт и часть палубной доски. 
Поделиться5708.09.22 19:38:53
igorb написал(а):
ещё и подарил по кусочку медной обшивки с обшивочным гвоздиком, по заклёпке и части палубной доски Авроры
А мне в своё время подарили кусок палубной брони, броневой болт и часть палубной доски.
Значит, мы обладатели исторических артефактов
Кусок брони,наверное, весит солидно? Я с 84-го работал в порту, рядом с заводом им. Жданова, у завода на трамвайном кольце работяги продавали по три рубля рюмки, выточенные из авроровских заклёпок.
Поделиться5809.09.22 07:07:46
Почему напрягает?
Всё вполне логично: зачем подшивать снизу бимсы, находящиеся "на улице"?
На богатырях и Варяге почему-то решили иначе сделать.
Или я ошибаюсь? 
Поделиться5909.09.22 10:45:32
На богатырях и Варяге почему-то решили иначе сделать.
Во-первых, это не российская постройка, у амеров и немцев были свои технические решения.
Во-вторых, у них эти казематы имели совсем иную конструкцию и размеры, там были небольшие косые срезы борта для обеспечения требуемых углов обстрела, а на "дианах" это были большие ниши высотой во всё межпалубное пространство, до бимсов верхней палубы.
ИМХО, как всегда.
Вот казематы "Паллады", в них даже два бортовых иллюминатора поместились:

Поделиться6009.09.22 12:23:54
ИМХО, как всегда.
Развернуто, доказательно .... как всегда.

Поделиться6109.09.22 22:05:38
Во-первых, это не российская постройка, у амеров и немцев были свои технические решения.

Поделиться6210.09.22 11:32:21
Во-первых, .................
Во-вторых, ...................
В третьих и где такие картинки берут, даже с внутренним убранством кают-компании?
Ну, просто интересно. 
Поделиться6411.09.22 12:49:45
где такие картинки берут
Так адрес давно известен, всё лежит здесь:
https://rgavmf.ru
Это сор-линь как я понимаю?
Забыл, как называется эта снасть для предотвращения потери пера руля.
Руль-шкентель, вроде?
Идёт с обоих бортов на рым в крайней верхней точке руля.
Поделиться6511.09.22 20:36:29
Руль-шкентель, вроде?
да
Поделиться6611.09.22 22:55:54
Так адрес давно известен, всё лежит здесь:

Поделиться6713.09.22 20:40:41
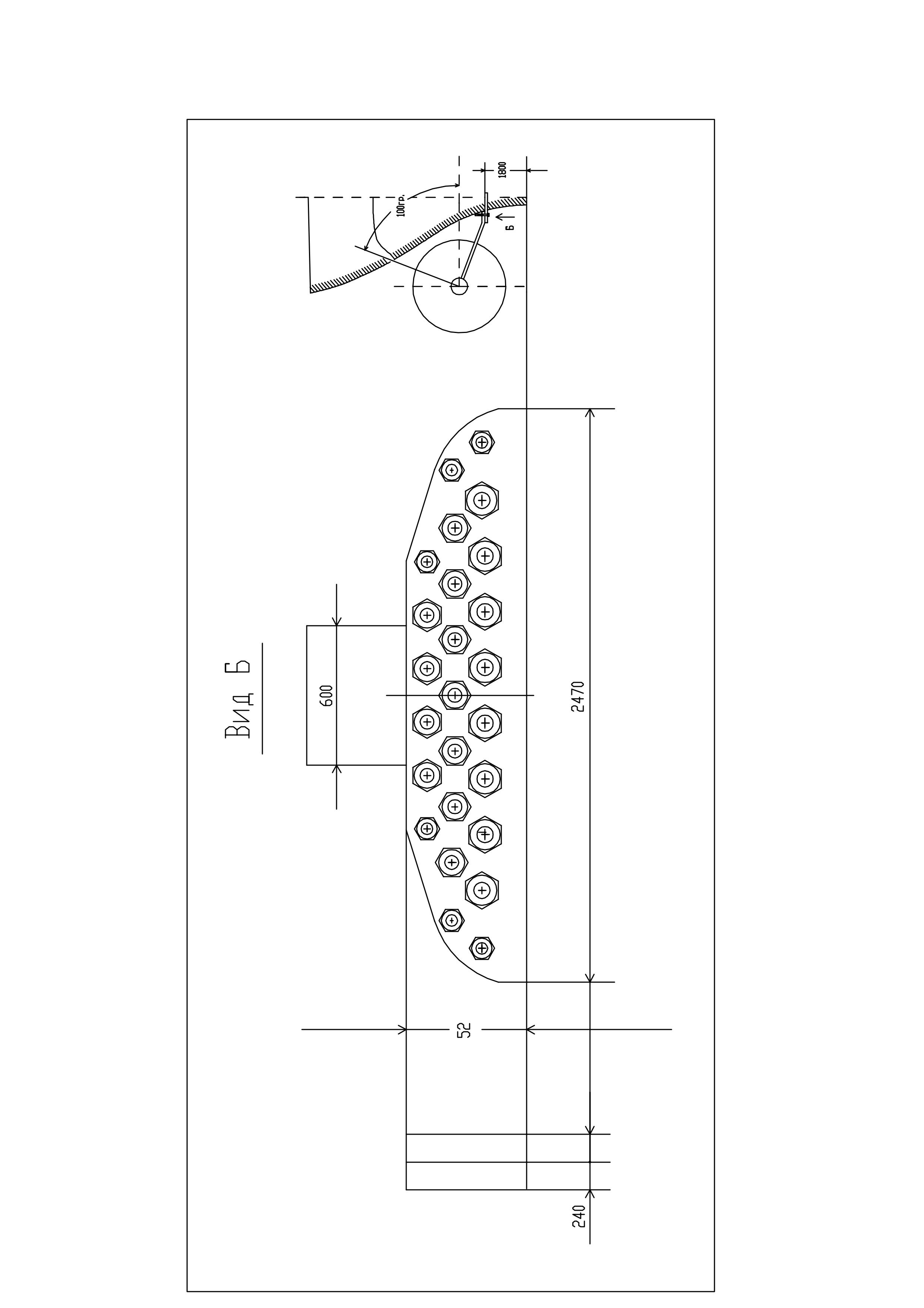
Кронштейны валов...
Интересно, что нижнее крепление кронштейнов на всех ранее построенных моделях сделано по чертежу. А оно было совершенно другим. На фото из дока видна нижняя площадка опоры кронштейна ...
Сергей Иванович поделился такими фотографиями нижней площадки крепления кронштейнов, крепёжных болтов и, даже, сделал чертёжик....



Поделиться6920.09.22 20:10:23
Труд - огромный, с размахом! Подлинность подтверждаю, сам видел "в живую"!
Поделиться7131.01.23 21:52:40
Заклеили тканью, зашпаклевали, сегодня начали красить и...такого поворота никак не ожидали
В мастерской, видимо от красочной аэрозоли, сработала пожарная сигнализация
Прилетела пожарная машина, пожарники всем навтыкали за ложный вызов, обнюхали всех и свалили. А нам то, что теперь делать, оказалось, что во всём колледже есть только одно помещение без датчиков, где такую бандуру можно покрасить, но оно пока занято под склад...на пару месяцев точно
На сегодня только такие фото, с горя начал делать ватервейсы...




Поделиться7231.01.23 22:07:13
В мастерской, видимо от красочной аэрозоли, сработала пожарная сигнализация
Охренеть...
Прилетела пожарная машина, пожарники всем навтыкали за ложный вызов, обнюхали всех и свалили.
Главное, чтобы штраф не выкатили...
На сегодня только такие фото, с горя начал делать ватервейсы...

Поделиться7331.01.23 22:07:49
с горя начал делать ватервейсы...
До пушек еще не дошли?
Поделиться7431.01.23 22:21:54
igorb написал(а):
...Главное, чтобы штраф не выкатили...
Договорились...у нас же есть факультет МЧС...наши с ихними пошушукались и разошлись с миром 
Поделиться7531.01.23 22:27:29
igorb написал(а):
с горя начал делать ватервейсы...
До пушек еще не дошли?
Да, куда там...только первую подушку под баковое орудие начал делать. Пока, даже не приступали. Наверное будем выращивать мастер-модель станков 6-ти дюймовок и отливать из латуни, как остальные детали делать... 
Поделиться7601.02.23 06:50:39
и...такого поворота никак не ожидали
Офигеть, не встать......
Вот ведь как бывает. 
Поделиться7701.02.23 07:29:21
Наверное будем выращивать мастер-модель станков 6-ти дюймовок
Не торопитесь пока. Попробую свой вариант перевести в вашем масштабе, посмотрим, что получится...
Поделиться7801.02.23 08:02:30
igorb написал(а):
Наверное будем выращивать мастер-модель станков 6-ти дюймовок
Не торопитесь пока. Попробую свой вариант перевести в вашем масштабе, посмотрим, что получится...
Артур, спасибо
Созвонимся...
Поделиться7901.02.23 09:18:16
Душевно получается!
оказалось, что во всём колледже есть только одно помещение без датчиков, где такую бандуру можно покрасить, но оно пока занято под склад...на пару месяцев точно
А пожарные датчики закрыть каким-нибудь способом не проще будет?
Прикрыть платиковым колпачком и скотчиком по периметру для пущей важности , дабы ему там спокойнее было... 
Поделиться8001.02.23 09:20:49
с горя начал делать ватервейсы...
А швы между досками решили тушью изображать? 
Поделиться8101.02.23 21:29:32
igorb написал(а):
с горя начал делать ватервейсы...
А швы между досками решили тушью изображать?
Валера, это гелькоут- черная полиэфирка. Тут она ещё не встала, по этому не шлифовал. Не знаю, что получится. Если не понравится, придётся придумать что то другое.
Поделиться8201.02.23 21:36:28
..А пожарные датчики закрыть каким-нибудь способом не проще будет?
![]()
Прикрыть платиковым колпачком и скотчиком по периметру для пущей важности , дабы ему там спокойнее было...
Даже мыслить нельзя в эту сторону. У нас камеры по всем помещениям, если кто увидит...все трое потянемся гуськом на выход
Даже, когда (очень редко, конечно
)есть желание на работе махнуть рюмашку, наливаем себе в шкафу 
Поделиться8302.02.23 13:37:16
....Даже, когда (очень редко, конечно )есть желание на работе махнуть рюмашку, наливаем себе в шкафу
Сурово как то все у вас , и вроде ж не КПЗ , а детское учреждение...
Не знаю, что получится. Если не понравится, придётся придумать что то другое.
Черная бумага! И нет ничего лучше... 
Поделиться8402.02.23 21:00:06
У нас камеры по всем помещениям, если кто увидит...все трое потянемся гуськом на выход
Даже, когда (очень редко, конечно )есть желание на работе махнуть рюмашку, наливаем себе в шкафу
Прям как в ЦВМБ... 
Поделиться8504.02.23 16:50:34
...Сурово как то все у вас , и вроде ж не КПЗ , а детское учреждение...
![]()
Вот в этом всё и дело, вдруг, мы их плохому научим а " ...они же дети..." 
Поделиться8604.02.23 17:06:42
... Не знаю, что получится. Если не понравится, придётся придумать что то другое.
Черная бумага! И нет ничего лучше...
Валера, а нет фоток или просто, в двух словах (может, в закрытом) описания технологии. В общих чертах я себе представляю, но никогда сам не так не делал.
У меня после обработки сотой наждачкой результат получился вот такой. Доски-клён, широкие, подушки под носовой и кормовой пушками. Пока это пробник, по скольку в натуре они были дубовыми, эти уберу, сделаю из груши, как ватервейсы. Работать удобно, как обычным клеем, смола встаёт при правильном разведении минут за сорок, есть время что то исправить.В общем , пока, мне нравится...


Поделиться8704.02.23 21:42:23
Валера, а нет фоток или просто, в двух словах (может, в закрытом) описания технологии. В общих чертах я себе представляю, но никогда сам не так не делал.
Напишу в Технологиях, процесс давно известный. 
Пока это пробник, по скольку в натуре они были дубовыми, эти уберу, сделаю из груши, как ватервейсы.
Не-не.. вот тут по стрелке - халтура. Там прямой линии не должно быть.

Поделиться8805.02.23 12:05:23
Не-не.. вот тут по стрелке - халтура. Там прямой линии не должно быть....
Я уточнял этот момент, специально в ледяной дождь
попёрся на Аврору, с дежурным офицером дошли до гюйсштока (туда обычно не пускают) сделал несколько фоток. Не знаю, на сколько нынешняя палуба соответствует оригиналу. Когда то С.И.Овсянников говорил, что при замене палубы в 84-86 году раскладку делали по фотографиям снятой


Отредактировано igorb (05.02.23 13:34:08)
Поделиться8905.02.23 12:09:25
Валера, спасибо пост в "технологиях" 
Поделиться9005.02.23 12:18:37
Когда то С.И.Овсянников говорил, что при замене палубы в 84-86 году раскладку делали по фотографиям снятой
Это аргумент Специалиста в своем деле!
Вопрос отпадает.... 
Поделиться9207.02.23 21:31:35
Смотря на какой период вы делаете модель.Для РИФа такой ватервейс нехарактерен.Фотки Авроры перед ПМВ
Виталий, спасибо
Неожиданно...но, наверное, ты прав. Надо так и делать. Вроде до 15 года палубу не меняли, значит на момент вступления в строй такая раскладка досок и была. Мы строим на 1903 год. Будет белая, с пушками без щитов, деревянной радиорубкой на кормовом мостике...А сам ватервейс правильный, соответствует чертежу и по ширине и по высоте и скос внутренней кромки под 45 градусов. Буду пилить новые доски
Нет случайно ещё фото такой палубы на других кораблях РИФа.? Интересует в каких местах на досках были отверстия крепления к палубе.

Поделиться9308.02.23 20:36:57
Нет случайно ещё фото такой палубы на других кораблях РИФа.? Интересует в каких местах на досках были отверстия крепления к палубе.
На Олеге например похожая палуба была.Он ведь строился в Новом Адмиралтействе.На фотках пробки видны редко,только с близкого расстояния.И увидеть на них общий порядок крепления досок нельзя.Пробки вырезали поперек волокон доски,ставили что бы их как можно меньше видно было.
Согласно учебникам,например Шершову к палубной настилке доски старались крепить поближе к бимсам.
Поделиться9409.02.23 20:20:39
Сегодня попробовал такую раскладку. Заодно решил, что палуба будет из светлой груши, а не из клёна. Ватервейсы, подушки под пушками, кнехтами и т.п. останутся из тёмной груши.
Интересно, что ,чем ближе доски к гюйсштоку, тем короче получается клин (место, где доска имеет двойную ширину), попытки определить на сколько меняется длина этого клина с каждой следующей доской ни к чему не привели, надо подгонять каждую...В общем, получилось как то так...эротичненько


Поделиться9509.02.23 22:13:52
Ну и доски вокруг орудий не забудьте понизить до общего уровня палубы.Толстые они только под орудиями.
Поделиться9611.02.23 13:34:11
Ну и доски вокруг орудий не забудьте понизить до общего уровня палубы.Толстые они только под орудиями.
Виталий, а можешь чуть подробнее? Я уже увидел, что на всех палубных чертежах высокие подушки под орудия начерчены прямоугольными, а на фотографиях они высокие только вокруг станка. Во всяком случае так на бортовых пушках Дианы. Т.е. получается, что прямоугольник из дубовых досок имеет высоту палубы, а в центре круглое возвышение под кольцо станка, которое (возвышение) ещё и нивелирует палубную погибь? Правильно?
Примерно как тут?
Поделиться9811.02.23 13:43:29
Добавлю на всякий случай,доски под орудиями параллельны ватерлинии.
Поделиться10011.02.23 19:39:56
Отлично, спасибо
А у меня не получалось вытянуть что то подобное из опубликованных фотографий.Буду работать... 















